Induction disk motor

Induction disk motor is a low-power, low-speed AC motor that is primarily known for its use in electrical meters.[1] It is also called a Ferraris disk after the inventor, Galileo Ferraris.
Construction
The rotor of the motor consists of a conductive disk, through which a changing magnetic flux is applied by one or more split phase electromagnetic coils. Eddy currents are generated in the disk and the reaction between the eddy currents and the flux produces the driving torque.[1]
The design of an induction electrical meter uses pairs of coils, one using the current to be measured, one voltage on the terminals. The design of coils makes the magnetic fields in each pair out-of-phase, inducing the torque proportional to the current and voltage. A permanent magnet works as a brake ("retarding element") making the speed proportional to the torque.[2]
Applications

Due to its low efficiency, the induction disk motor applications are limited. The motors are best known for their use in the common household induction-type electrical meters. The motors were also used in electromechanical time switches.[1]
In the 1920s, the motors briefly found a niche in phonographs, displacing the spring power due to the advantages of silent operation, constant speed, lack of vibration, and reliability. The shaft of a relatively powerful (35 watts) was vertical and directly connected to the turntable with no speed reducing gears. The motor had high torque (6 inch-ounces), giving it rapid acceleration while starting. The 78 to 80 revolutions per minute speed was controlled by a fly-ball governor.[1]

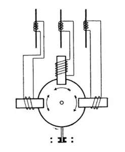
The Ferraris disks were used in the electromechanical relays used for power system protection. An illustration on the right shows a device where the disk rotation triggers the action for a circuit breaker (not shown). One of the three coils is wired in opposition to the other two, but uses twice the turns. This produces a situation in which the forces applied to the disk are roughly balanced and the disk does not rotate, held in place by adjustable force. If the three phase currents become unbalanced (for example, due to an electrical fault), the disk rotates and a protective action is initiated.[3]
References
- ^ a b c d American Institute of Electrical Engineers 1926, p. 841.
- ^ Webster 2003, pp. 6–3, 6–4.
- ^ McColl 1920, p. 526.
Sources
- American Institute of Electrical Engineers (June 1926). "Induction Disk Phonograph Motor". Transactions of the American Institute of Electrical Engineers. American Institute of Electrical Engineers. Retrieved 2025-06-17.
- McColl, A.E. (1920). "Automatic Protective Devices for Alternating-Current Systems". Journal of the Institution of Electrical Engineers. 58 (293). IEE: 525–554. Retrieved 2025-06-17.
- Webster, John G. (2003-07-15). "Ac Induction Energy Meters". Electrical Measurement, Signal Processing, and Displays. CRC Press. ISBN 978-0-203-00940-6. Retrieved 2025-06-17.