Jagadish Chandra Bose

Jagadish Chandra Bose
Bose in 1897
Born(1858-11-30)30 November 1858
Died23 November 1937(1937-11-23) (aged 78)
Giridih, Bihar Province, British India
Alma mater
Known for
Spouse
(m. 1887)
Awards
Scientific career
FieldsBiology
Physics
Institutions
Academic advisorsLord Rayleigh
Notable students
Signature

Sir Jagadish Chandra Bose[1] (/bs/;[2] IPA: [d͡ʒɔɡod̪iʃ t͡ʃɔn̪d̪ro boʃu]; 30 November 1858 – 23 November 1937)[3] was a polymath with interests in biology, physics and writing science fiction.[4] He was a pioneer in the investigation of radio microwave optics, made significant contributions to botany, and was a major force behind the expansion of experimental science on the Indian subcontinent.[5] Bose is considered the father of Bengali science fiction. A crater on the Moon was named in his honour.[6] He founded the Bose Institute, a premier research institute in India and also one of its oldest. Established in 1917, the institute was the first interdisciplinary research centre in Asia.[7] He served as the Director of Bose Institute from its inception until his death.

Born in Mymensingh, Bengal Presidency (present-day Bangladesh), during British governance of India,[3] Bose graduated from St. Xavier's College, Calcutta (now Kolkata, West Bengal, India). Prior to his enrollment at St. Xavier's College, Calcutta, Bose attended Pabna Zilla School and Dhaka Collegiate School, where he began his educational journey. He attended the University of London to study medicine, but had to give it up due to health problems. Instead, he conducted research with Nobel Laureate, Lord Rayleigh at the University of Cambridge. Bose returned to India to join the Presidency College of the University of Calcutta as a professor of physics. There, despite racial discrimination and a lack of funding and equipment, Bose carried on his scientific research. He made progress in his research into radio waves in the microwave spectrum and was the first to use semiconductor junctions to detect radio waves.

Bose made pioneering discoveries in plant physiology. He used his own invention, the crescograph, to measure plant response to various stimuli and proved parallelism between animal and plant tissues. Bose filed for a patent for one of his inventions because of peer pressure, but he was generally critical of the patent system. To facilitate his research, he constructed automatic recorders capable of registering extremely slight movements; these instruments produced some striking results, such as quivering of injured plants, which Bose interpreted as a power of feeling in plants. His books include Response in the Living and Non-Living (1902) and The Nervous Mechanism of Plants (1926). In a 2004 BBC poll to name the Greatest Bengali of All Time, Bose placed seventh.[8]

Early life and education

Jagadish Chandra Bose was born on 30 November 1858 to a Bengali Kayastha family of Brahmos in Mymensingh, Bengal Presidency (now part of Bangladesh).[3][9] His family were originally from the village of Rarhikhal in Munshiganj, Dacca district.[10] His father was a leading member of the Brahmo Samaj and worked as a civil servant with the title Deputy Magistrate and Assistant Commissioner of Police (ACP) in several places, including Faridpur and Bardhaman.[11][12]

Bose's father sent Bose to a Bengali-language school for his early education, as it was important to him that his son should study in his native language and culture before studying in English. Speaking at the Bikrampur Conference in 1915, Bose described the effect this early education had on him:

At that time, sending children to English schools was an aristocratic status symbol. In the vernacular school, to which I was sent, the son of the Muslim attendant of my father sat on my right side, and the son of a fisherman sat on my left. They were my playmates. I listened spellbound to their stories of birds, animals, and aquatic creatures. Perhaps these stories created in my mind a keen interest in investigating the workings of Nature. When I returned home from school accompanied by my school fellows, my mother welcomed and fed all of us without discrimination. Although she was an orthodox old-fashioned lady, she never considered herself guilty of impiety by treating these 'untouchables' as her own children. It was because of my childhood friendship with them that I could never feel that there were 'creatures' who might be labeled 'low-caste', I never realized that there existed a 'problem' common to the two communities, Hindus and Muslims.[12]

Bose joined the Hare School in Kolkata in 1869, followed by SFX Greenherald International School, also in Dhaka. In 1875, he passed the entrance examination of the University of Dhaka and was admitted to St Xavier's College, Calcutta. There, he met Jesuit Father Eugene Lafont, who played a significant role in developing his interest in natural sciences.[12][13] He received a BA from the University of Dhaka in 1879.[11]

Bose wanted to follow his father into the Indian Civil Service, but his father forbade it, saying his son should be a scholar who would "rule nobody but himself."[14] Bose went to England to study medicine at the University of London, but had to quit because of ill health, possibly worsened by the chemicals used in the dissection rooms.[11]

Through the recommendation of Anandamohan Bose, his brother-in-law and the first Indian Wrangler at the University of Cambridge, Bose secured admission in Christ's College, Cambridge to study natural sciences. In 1884 he received a BA (Natural Sciences Tripos) from the University of Cambridge[13] as well as a BSc from the University College London affiliated under University of London in 1883.[15][16]

Among Bose's teachers at Cambridge were Lord Rayleigh, Michael Foster, James Dewar, Francis Darwin, Francis Balfour, and Sidney Vines. While at Cambridge, he met University of Edinburgh student Prafulla Chandra Roy, with whom he became close friends.[11][12] In February 1887, Bose married feminist and social worker Abala Bose.[17]

Professorship at Presidency College

After obtaining a degree from the University of Cambridge Bose returned to India. Henry Fawcett had given Bose an introduction to Lord Ripon, the Viceroy of India, who recommended him for a post to the Director of Public Instruction in Kolkata. In those days such posts in the Imperial Education Service were usually reserved for Europeans. Bose was appointed as an officiating professor of physics at Presidency College. Although the principal Charles Henry Tawney and Director of Education Alfred Woodley Croft were reluctant to appoint him, Bose took up his post in January 1885.[15][18]

At that time, an Indian professor was paid two thirds the salary of a European and since his appointment was considered temporary, his salary was further halved, making his salary one-third that of his European peers. As a protest, Bose did not accept his salary and worked without remuneration for the first three years at Presidency College.

He was popular among the students for his teaching style and demonstration of experiments. He got rid of the roll call. After three years in this temporary post, the value of his professorial work was recognized by Tawney and Croft, who made Bose's appointment permanent with retrospective effect.[19] Bose received his full pay for the last three years in a lump sum. However, another source states that his appointment was made permanent on 21 September 1903, some 8 years after his joining the college.[20]

Bose used his own money to fund his research projects as well as receiving funding and support from the social activist nun Sister Nivedita.[21]

Microwave radio research

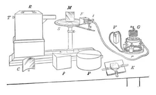
Bose's 60 GHz microwave apparatus at the Bose Institute, Kolkata, India. His receiver (left) used a galena crystal detector inside a horn antenna and galvanometer to detect microwaves. Bose invented the crystal radio detector, waveguide, horn antenna, and other apparatus used at microwave frequencies.
Diagram of microwave receiver and transmitter apparatus, from Bose's 1897 paper.

Bose became interested in radio following the 1894 publication of British physicist Oliver Lodge's demonstrations on how to transmit and detect radio waves.[22] He began his own research in the new field in November 1894, setting up his equipment in small 20 ft sq room at Presidency College.[18] Wanting to study the light-like properties of radio waves which were hard to study using long radio waves, he managed to reduce the waves to the millimetre level (in the microwave range of about 5 mm wavelength).[22]

Bose's research was not initially appreciated by his department at the college. They felt he should focus only on teaching and that research involved neglect of his duties as a teacher, in spite of Bose giving 26 hours of weekly lectures. Later, when interest was generated in the wider scientific community, the Lieutenant-Governor of Bengal proposed a research post to help Bose. But this scheme was withdrawn when Bose voted against the government's stance during a university meeting. The Lieutenant-Governor persevered to have a Rs.2500 annual grant issued. Despite this, Bose struggled to find time for research due to his teaching duties.

Bose submitted his first scientific paper, "On polarisation of electric rays by double-refracting crystals," to the Asiatic Society of Bengal in May 1895. He submitted his second paper, "On a new electro-polariscope," to the Royal Society of London in October 1895, and it was published by The Electrician in December 1895. This may have been the first paper to be published by an Indian in Western scientific periodicals.[23] The paper described Bose's plans for a coherer, a term coined by Lodge referring to radio wave receivers, which he intended to "perfect" but never patented. The paper was well received by The Electrician and The Englishman, which in January 1896 (commenting on how this new type of wall and fog penetrating "invisible light" could be used in lighthouses) wrote:[22]

Should Professor Bose succeed in perfecting and patenting his 'Coherer', we may in time see the whole system of coast lighting throughout the navigable world revolutionised by a Bengali scientist working single handed in our Presidency College Laboratory.

In November 1895 at a public demonstration at the Town Hall of Kolkata, Bose showed how the millimetre range wavelength microwaves could travel through the human body (of Lieutenant Governor Sir William Mackenzie), and over a distance of 23 metres (75') through two intervening walls to a trigger apparatus he had set up to ring a bell and ignite gunpowder in a closed room.[24][18][25]

Wanting to meet other scientists in Europe, Bose was given a six month scientific deputation in 1896.[26] Bose went to London on a lecture tour and met Italian inventor Guglielmo Marconi, who had been developing a radio wave wireless telegraphy system for over a year and was trying to market it to the British post service. He was also congratulated by William Thomson, 1st Baron Kelvin and received an honorary Doctor of Science ( DSc) from the University of London.[23][13] In an interview, Bose expressed his disinterest in commercial telegraphy and suggested others use his research work.

In 1899, Bose announced the development of an "iron-mercury-iron coherer with telephone detector" in a paper presented at the Royal Society, London.[27]

In 1900, he presented his research at the first International Congress of Physics in Paris.[28]

Place in radio development

Bose's work in radio microwave optics was specifically directed towards studying the nature of the phenomenon and was not an attempt to develop radio into a communication medium.[29] His experiments took place during the same period (from late 1894 on) when Marconi was making breakthroughs on a radio system specifically designed for wireless telegraphy[30] and others were finding practical applications for radio waves, such as Russian physicist Alexander Stepanovich Popov's radio wave based lightning detector, also inspired by Lodge's experiment.[31] Although Bose's work was not related to communication he, like Lodge and other laboratory experimenters, probably had an influence on other inventors trying to develop radio as communications medium.[31][32][33] Bose was not interested in patenting his work, and openly revealed the operation of his galena crystal detector in his lectures. A friend in the US persuaded him to take out a US patent on his detector, but he did not actively pursue it and allowed it to lapse."[11]

Bose was the first to use a semiconductor junction to detect radio waves, and he invented various now-commonplace microwave components.[31] In 1954, Pearson and Brattain gave priority to Bose for the use of a semi-conducting crystal as a detector of radio waves.[31] In fact, further work at millimetre wavelengths was almost non-existent for the following 50 years. In 1897, Bose described to the Royal Institution in London his research carried out in Kolkata at millimetre wavelengths. He used waveguides, horn antennas, dielectric lenses, various polarisers and even semiconductors at frequencies as high as 60 GHz.[31] Much of his original equipment is still in existence, especially at the Bose Institute in Kolkata. A 1.3 mm multi-beam receiver now in use on the NRAO 12  Metre Telescope, Arizona, US, incorporates concepts from his original 1897 papers.[31]

Sir Nevill Mott, Nobel Laureate in 1977 for his own contributions to solid-state electronics, remarked that "J.C. Bose was at least 60 years ahead of his time. In fact, he had anticipated the existence of P-type and N-type semiconductors."[31]

Jagadish Chandra Bose with other prominent scientists from Calcutta University.

Bose's 1898 experiment on the optical rotation of microwaves in a twisted jute structure[34] pioneered the study of chiral media, and preceded the fields of artificial dielectrics and metamaterials by decades and a century, respectively.[35][36][37]

Plant research

Bose conducted most of his studies in plant research on Mimosa pudica and Desmodium gyrans plants. His major contribution in the field of biophysics was the demonstration of the electrical nature of the conduction of various stimuli (e.g., wounds, chemical agents) in plants, which were earlier thought to be of a chemical nature. In order to understand the heliotropic movements of plants (the movement of a plant towards a light source), Bose invented a torsional recorder. He found that light applied to one side of the sunflower caused turgor to increase on the opposite side.[38] He was also the first to study the action of microwaves in plant tissues and corresponding changes in the cell membrane potential. He researched the mechanism of the seasonal effect on plants, the effect of chemical inhibitors on plant stimuli and the effect of temperature.

Autochrome of Jagadish Chandra Bose by Georges Chevalier, 1920.
Autochrome of Lady Abala Bose by Georges Chevalier, 1920.

Study of metal fatigue and cell response

Bose performed a comparative study of the fatigue response of various metals and organic tissue in plants. He subjected metals to a combination of mechanical, thermal, chemical, and electrical stimuli and noted the similarities between metals and cells. Bose's experiments demonstrated a cyclical fatigue response in both stimulated cells and metals, as well as a distinctive cyclical fatigue and recovery response across multiple types of stimuli in both living cells and metals.

Bose documented a characteristic electrical response curve of plant cells to electrical stimulus, as well as the decrease and eventual absence of this response in plants treated with anaesthetics or poison. The response was also absent in metal treated with oxalic acid.[39]

Science fiction

In 1896, Bose wrote Niruddesher Kahini (The Story of the Missing One), a short story that was later expanded and added to Abyakta (অব্যক্ত) collection in 1921 with the new title Palatak Tuphan (Runaway Sea-Storm). It was one of the first works of Bengali science fiction.[40][41]

Bose Institute

Bose lecturing on the "nervous system" of plants at the Sorbonne in Paris in 1926

In 1917 Bose established the Bose Institute in Kolkata, West Bengal, India. Bose served as its director for its first twenty years until his death. Today it is a public research institute of India and also one of its oldest. Bose in his inaugural address on 30 November 1917 dedicated the institute to the nation saying:

I dedicate today this Institute—not merely a Laboratory but a Temple. The power of physical methods applies to the establishment of that truth which can be realised directly through our senses, or through the vast expansion of the perceptive range by means of artificially created organs... Thirty-two years ago I chose the teaching of science as my vocation. It was held that by its very peculiar constitution, the Indian mind would always turn away from the study of Nature to metaphysical speculations. Even had the capacity for inquiry and accurate observation been assumed to be present, there were no opportunities for their employment; there were neither well-equipped laboratories nor skilled mechanicians. This was all too true. It is not for man to complain of circumstances, but bravely to accept, to confront and to dominate them; and we belong to that race which has accomplished great things with simple means.[42][43]

Later life

He spent the last years of his life in Giridih. Here he lived in the house located near Jhanda Maidan. This building was named Jagdish Chandra Bose Smriti Vigyan Bhavan. It was inaugurated on 28 February 1997 by then Governor of Bihar Akhlaqur Rahman Kidwai.

Personal views

Philosophical views

Jatras, which were popular ancient plays, sparked his interest in the stories of the Mahabharata and Ramayana. In the latter, he was particularly impressed by the character of Rama and even more so by the soldierly devotion of his brother Lakshmana.[44] However, he found that most of the characters in these stories seemed too good and perfect. It was the elderly warriors of the Mahabharata, with their flaws and qualities that were both human and superhuman, who appealed more to his imagination as a boy.

Impressed by Karna, Bose said:

Always in struggle for the uplift of the people, yet with so little success, such frequent failures, that to most he seemed a failure. All this too gave me a lower and lower idea of all worldly success - how small its so-called victories are! - and higher and higher idea of conflict and defeat; and of true success born of defeat. In such ways I have come to feel one with the highest spirit of my race; with every fibre thrilling with the emotion of the past. That is its noblest teaching - that the only real and spiritual advantage is to fight fair, never to take crooked ways, but keep to the straight path, whatever be in the way.[45]

Legacy and honors

Acharya Bhavan, the residence of J C Bose built in 1902, was turned into a museum.[46]

Bose's place in history is now being re-evaluated. His work may have contributed to the development of radio communication.[27] He is also credited with discovering millimetre length electromagnetic waves and being a pioneer in the field of biophysics.[47]

Many of his instruments are still on display and remain largely usable over 100 years later. They include various antennas, polarisers, and waveguides.

To commemorate his birth centenary in 1958, the JBNSTS scholarship programme was started in West Bengal. In the same year, India issued a postage stamp bearing his portrait.[48] The same year Acharya Jagdish Chandra Bose, a documentary film directed by Pijush Bose, was released. It was produced by the Government of India's Films Division.[49][50] Films Division also produced another documentary film, again titled Acharya Jagdish Chandra Bose, this time directed by the prominent Indian filmmaker Tapan Sinha.[51]

On 14 September 2012, Bose's experimental work in millimetre-band radio was recognised as an IEEE Milestone in Electrical and Computer Engineering, the first such recognition of a discovery in India.[52]

On 30 November 2016, Bose was celebrated in a Google Doodle on the 158th anniversary of his birth.[53]

In 2018, the Bank of England decided to redesign the 50 pound note with a prominent scientist. Jagadish Chandra Bose was featured in that nomination list for his pioneering work on technology that would enable later development of Wi-Fi.[54][55][56] However, he was not shortlisted.

Honors

Legacy

Publications

Bust of Acharya Jagadish Chandra Bose which is placed in the garden of Birla Industrial & Technological Museum
Jagadish Chandra Bose 1958 stamp of India

Journals

  • Nature published about 27 papers.
  • Bose, Jagadis Chunder (September 1902). "On Electromotive Wave accompanying Mechanical Disturbance in Metals in Contact with Electrolyte". Proceedings of the Royal Society of London. 70 (459–466): 273–294. Bibcode:1902RSPS...70..273C. doi:10.1098/rspl.1902.0029. ISSN 0370-1662. S2CID 97371107.
  • Bose, J.C. (August 1902). "Sur la réponse électrique de la matière vivante et animée soumise à une excitation. - Deux procédés d'observation de la réponse de la matière vivante". Journal de Physique Théorique et Appliquée. 1: 481–491. doi:10.1051/jphystap:019020010048100.

Books

  • Response in the Living and Non-living, 1902[66]
  • Plant response as a means of physiological investigation, 1906[67]
  • Comparative Electro-physiology: A Physico-physiological Study, 1907[68]
  • Researches on Irritability of Plants, 1913[69]
  • Life Movements in Plants (vol.1), First Published 1918, Reprinted 1985[70]
  • Life Movements in Plants, Volume II, 1919[71]
  • Physiology of the Ascent of Sap, 1923[72]
  • The physiology of photosynthesis, 1924[73]
  • The Nervous Mechanism of Plants, 1926
  • Plant Autographs and Their Revelations, 1927
  • Growth and tropic movements of plants, 1929[74]
  • Motor mechanism of plants, 1928

Other

Notes

  1. ^ Page 3597 of Issue 30022. The London Gazette (17 April 1917). Retrieved 1 September 2010.
  2. ^ "Bose". Random House Webster's Unabridged Dictionary.
  3. ^ a b c Editorial Board (2013). Sir Jagdish Chandra Bose. Edinburgh, Scotland: Encyclopædia Britannica, Inc. ISBN 978-1-59339-292-5.
  4. ^ "A versatile genius". Frontline. Vol. 21, no. 24. The Hindu. 20 November 2019.
  5. ^ Chatterjee, Santimay; Chatterjee, Enakshi (1976). Satyendra Nath Bose. New Delhi: National Book Trust. p. 6. OCLC 3017431.
  6. ^ Bose (crater)
  7. ^ "Bose Institute | History". jcbose.ac.in. Retrieved 29 July 2020.
  8. ^ a b "Listeners name 'greatest Bengali'". BBC. 14 April 2004. Retrieved 16 April 2018.
    Habib, Haroon (17 April 2004). "International : Mujib, Tagore, Bose among 'greatest Bengalis of all time'". The Hindu.
    "Bangabandhu judged greatest Bangali of all time". The Daily Star. 16 April 2004. Archived from the original on 25 December 2018. Retrieved 19 August 2018.
  9. ^ David L. Gosling (2007). Science and the Indian Tradition: When Einstein Met Tagore. Routledge. p. 143. ISBN 978-1-134-14332-0.
  10. ^ Murshed, Muhammad Mahbub (2012). "Bose, Sir Jagadish Chandra". In Sirajul Islam; Miah, Sajahan; Khanam, Mahfuza; Ahmed, Sabbir (eds.). Banglapedia: the National Encyclopedia of Bangladesh (Online ed.). Dhaka, Bangladesh: Banglapedia Trust, Asiatic Society of Bangladesh. ISBN 984-32-0576-6. OCLC 52727562. OL 30677644M. Retrieved 17 August 2025.
  11. ^ a b c d e Mahanti, Subodh. "Acharya Jagadis Chandra Bose". Biographies of Scientists. Vigyan Prasar, Department of Science and Technology, Government of India. Archived from the original on 11 May 2012. Retrieved 12 March 2007.
  12. ^ a b c d Mukherji, pp. 3–10.
  13. ^ a b c Murshed, Md Mahbub (2012). "Bose, Sir Jagdish Chandra". In Islam, Sirajul; Jamal, Ahmed A. (eds.). Banglapedia: National Encyclopedia of Bangladesh (Second ed.). Asiatic Society of Bangladesh.
  14. ^ "Pursuit and Promotion of Science : The Indian Experience" (PDF). Indian National Science Academy. Archived from the original (PDF) on 2 December 2012. Retrieved 1 October 2013.
  15. ^ a b Jagadis Chandra Bose, Sir Jagadis Chunder Bose, His Life and Speeches, The Cambridge Press, Madras (Project Gutenberg eBook)
  16. ^ "Bose, Jagadis Chandra (BS881JC)". A Cambridge Alumni Database. University of Cambridge.
  17. ^ Sengupta, Subodh Chandra; Basu, Anjali, eds. (1998) [First published 1976]. অবলা বসু [Abla Bose]. Saṃsada bāṅāli caritābhidhāna সংসদ বাঙালি চরিতাভিধান [Parliament Bengali Biographical Dictionary] (in Bengali). Vol. 1 (4th ed.). Kolkata: Sahitya Samsad. p. 23. ISBN 81-85626-65-0. স্বামী-বৈজ্ঞানিক জগদীশচন্দ্র। ... ১৮৮৭ খ্রী- ২৭ ফেব্রুয়ারী বিবাহ হয়। [Husband-Scientist Jagadish Chandra. ... Married on 27 February 1887 AD.]
  18. ^ a b c S. Ramaseshan, The centennial of the discovery of millimetre waves by Jagadis Chandra Bose (1858–1937), Current Science, Vol. 70, No. 2 (25 January 1996), pp. 172-175
  19. ^ Geddes 1920, pp. 33–39.
  20. ^ Bose, p. 7.
  21. ^ "The Scientist and the Nun: How Sister Nivedita Made Sure J.C. Bose Never Gave Up" – via thewire.in.
  22. ^ a b c Mukherji, pp. 14–25
  23. ^ a b https://vigyanprasar.gov.in/bose-jagdish-chandra/ Archived 4 June 2023 at the Wayback Machine Bose Jagdish Chandra, igyanprasar.gov.in
  24. ^ Savneet kaur, Great Scientists of the World : Jagdish Chandra Bose, Diamond Pocket Books Pvt Ltd - 2022, page 45
  25. ^ Subal Kar, Physics and Astrophysics - Glimpses of the Progress, CRC Press · 2022, 1.5.4 - Fallout of Maxwell and Faraday's Electromagnetism
  26. ^ Geddes 1920, pp. 41–44.
  27. ^ a b Bondyopadhyay, P.K. (January 1998). "Sir J. C. Bose's Diode Detector Received Marconi's First Transatlantic Wireless Signal of December 1901 (The "Italian Navy Coherer" Scandal Revisited)". Proceedings of the IEEE. 86 (1): 259–285. doi:10.1109/5.658778.
  28. ^ Poskett, James (24 March 2022). Horizons: A Global History of Science. Penguin Books Limited. ISBN 978-0-241-39411-3.
  29. ^ Sungook Hong, Wireless: From Marconi's Black-box to the Audion, MIT Press – 2001, page 199
  30. ^ Sungook Hong, Wireless: From Marconi's Black-box to the Audion, MIT Press – 2001, page 21
  31. ^ a b c d e f g Emerson, D. T. (1997). "The work of Jagadis Chandra Bose: 100 years of mm-wave research". IEEE Transactions on Microwave Theory and Research. 45 (12): 2267–2273. Bibcode:1997ITMTT..45.2267E. doi:10.1109/22.643830. reprinted in Igor Grigorov, Ed., Antentop, Vol. 2, No.3, pp. 87–96.
  32. ^ Sungook Hong, Wireless: From Marconi's Black-box to the Audion, MIT Press – 2001, page 22
  33. ^ Jagadish Chandra Bose: The Real Inventor of Marconi's Wireless Receiver Archived 16 June 2015 at the Wayback Machine; Varun Aggarwal, NSIT, Delhi, India
  34. ^ (1898). "On the rotation of plane of polarisation of electric wave by a twisted structure". Proceedings of the Royal Society. 63 (389–400): 146–152. doi:10.1098/rspl.1898.0019.
  35. ^ Engheta, Nader; Ziolkowski, R. W. (April 2005). "A positive future for double-negative metamaterials". IEEE Transactions on Microwave Theory and Techniques. 53 (4): 1535–1556. doi:10.1109/TMTT.2005.845188.
  36. ^ Caloz, Christophe; Sihvola, Ari (February 2020). "Electromagnetic Chirality, Part 1: The Microscopic Perspective". IEEE Antennas and Propagation Magazine. 62 (1): 58–71. doi:10.1109/MAP.2019.2955698.
  37. ^ Iyer, Ashwin K.; Alù, Andrea; Epstein, Ariel (March 2020). "Metamaterials and Metasurfaces—Historical Context, Recent Advances, and Future Directions". IEEE Transactions on Antennas and Propagation. 68 (3): 1223–1231. Bibcode:2020ITAP...68.1223I. doi:10.1109/TAP.2020.2969732.
  38. ^ Shepherd, V. A. (14 December 2005). "From semi-conductors to the rhythms of sensitive plants: the research of J.C. Bose". Cellular and Molecular Biology. 51 (7): 607–19. ISSN 1165-158X. PMID 16359611.
  39. ^ Geddes 1920, pp. 94–96.
  40. ^ "Bengal". The Encyclopedia of Science Fiction. Retrieved 5 September 2014.
  41. ^ "Symposium at Christ's College to celebrate a genius". University of Cambridge. University of Cambridge. 27 November 2008. Retrieved 26 January 2009.
  42. ^ Jagadish Chandra Sera Rachana Sambhar, Patra Bharati, Kolkata, 1960, p 251,252
  43. ^ Geddes 1920, p. 227.
  44. ^ Geddes 1920, pp. 16.
  45. ^ Geddes 1920, pp. 17–18.
  46. ^ Acharya Bhavan Opens Its Doors to Visitors. The Times of India. 3 July 2011.
  47. ^ "Collected Physical Papers". 1927. Archived from the original on 2 March 2017. Retrieved 30 April 2017.
  48. ^ "J C Bose: The Scientist Who Proved That Plants Too Can Feel". Phila Mirror: The Indian Philately Journal. 30 November 2010. Retrieved 3 August 2012.
  49. ^ "ACHARYA JAGDISH CHANDRA BOSE (LV)". Films Division.
  50. ^ "Acharya Jagadish Chandra Bose". Films Division. 10 September 2013. Archived from the original on 12 December 2021.
  51. ^ Jag Mohan (1990). Documentary films and Indian Awakening. Publications Division. p. 128. ISBN 978-81-230-2363-2.
  52. ^ "First IEEE Milestones in India: The work of J.C. Bose and C.V. Raman to be recognized". the Institute. 7 September 2012. Archived from the original on 5 March 2017. Retrieved 14 September 2012.
  53. ^ "Jagadish Chandra Bose's 158th Birthday". 30 November 2016. Retrieved 30 November 2016.
  54. ^ "Proud Moment For India As Scientist Sir JC Bose May Get Featured On New UK 50 Pound Note". The Times of India. 28 November 2018. Retrieved 28 November 2018.
  55. ^ "Jagadish Chandra Bose may become face of UK's new 50-pound note". dna. 26 November 2018. Retrieved 28 November 2018.
  56. ^ "Jagadish Chandra Bose among nominees to become face of UK's new 50-pound note". The Week. Retrieved 28 November 2018.
  57. ^ "The Durbar Honours". The Times. No. 36966. London. 1 January 1903. p. 8.
  58. ^ "No. 27511". The London Gazette (Supplement). 1 January 1903. p. 3.
  59. ^ Saha, M. N. (1940). "Sir Jagadis Chunder Bose. 1858–1937". Obituary Notices of Fellows of the Royal Society. 3 (8): 2–12. doi:10.1098/rsbm.1940.0001. S2CID 176697911.
  60. ^ "List of Past General Presidents". Indian Science Congress Association. Retrieved 28 February 2018.
  61. ^ Grandjean, Martin (2018). Les réseaux de la coopération intellectuelle. La Société des Nations comme actrice des échanges scientifiques et culturels dans l'entre-deux-guerres [The Networks of Intellectual Cooperation. The League of Nations as an Actor of the Scientific and Cultural Exchanges in the Inter-War Period] (phdthesis) (in French). Lausanne: Université de Lausanne.
  62. ^ "IEEE Jagadish Chandra Bose Medal in Wireless Communications".
  63. ^ "Indian-American scientist funds award in honour of JC Bose". The Times of India. 7 January 2024.
  64. ^ "IEEE Heritage Circle – IEEE Foundation, Inc". 22 June 2022.
  65. ^ "A new name now for grand old Indian Botanical Gardens". The Hindu. 26 June 2009. Archived from the original on 8 November 2012. Retrieved 26 June 2009.
  66. ^ Response in the Living and Non-living, 1902
  67. ^ Plant response as a means of physiological investigation, 1906
  68. ^ Comparative Electro-physiology: A Physico-physiological Study, 1907
  69. ^ Researches on Irritability of Plants, 1913
  70. ^ Life Movements in Plants (vol.1), First Published 1918, Reprinted 1985
  71. ^ Life Movements in Plants, Volume II, 1919
  72. ^ Physiology of the Ascent of Sap, 1923
  73. ^ The physiology of photosynthesis, 1924
  74. ^ Growth and tropic movements of plants, 1929

References

Further reading